Пятерка научных событий года в Одессе: лекарство от гриппа, управление наночастицами и роботы-пациенты  


Уходящий год был не особо богат на яркие научные события и сенсационные достижения. К сожалению, урезание государственного бюджета, политическая нестабильность и общий спад в экономике привели к уменьшению объемов бюджетного финансирования и сокращению количества выполняемых хоздоговорных работ.

Но как бы то ни было, студенты посещали лекции и сдавали экзамены, аспиранты и докторанты защищали диссертации, доценты и профессора писали монографии и выступали с докладами, научные сотрудники продолжали исследования. В городе открывались новые лаборатории и учебные центры, проходили научные конференции, в том числе международные.

Научная жизнь Одессы в 2014 году шла своим чередом, а «Думская» старалась в меру возможностей информировать своих читателей о наиболее интересных событиях. Давайте вспомним некоторые из них.


ОДЕССКИЙ УНИВЕРСИТЕТ — В ДЕСЯТКЕ ЛУЧШИХ

Одесский национальный университет имени Мечникова занял седьмое место в рейтинге лучших учебных заведений Украины и был признан лучшим на юге Украины.

Консолидированный рейтинг оценивает 292 государственных и частных ВУЗов III-IV уровня. ОНУ стал единственным одесским университетом в первой десятке и занял четвертое место в рейтинге «классических университетов».

В 2015 году Одесский национальный университет будет праздновать свое 150-летие.


ЛЕКАРСТВО ПРОТИВ ГРИППА

Одесские ученые запатентовали новое лекарство против гриппа — соединение кобальт бис(цитрато)германат. Это изобретение — результат сотрудничества исследователей из медицинского университета, университета имени Мечникова и противочумного института.

Традиционным противовирусным средством для профилактики и лечения гриппа является «Тамифлю» (осельтамивир), хорошо известный украинцам со времен вспышки «свиного гриппа». Однако врачи назначают это лекарство с опаской, потому что оно нередко вызывает тяжелые побочные эффекты, негативно воздействуя на нервную и пищеварительную систему.

Изобретение одесских ученых гораздо безопаснее. В ближайшее время авторы намерены представить свою разработку на суд государства и начать клинические испытания.


ПАТЕНТЫ

В 2014 году одесские ученые продолжили получать патенты на свои изобретения и полезные образцы, которые могут пригодиться в ближайшем и далеком будущем.

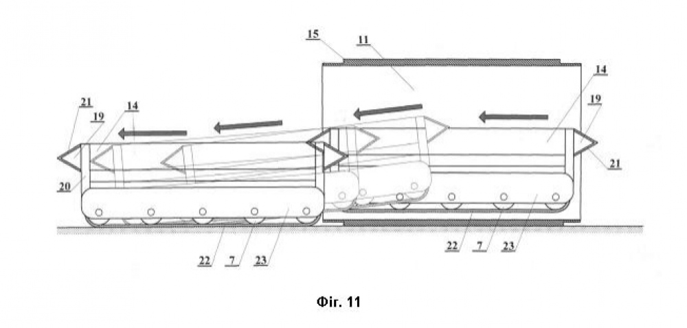
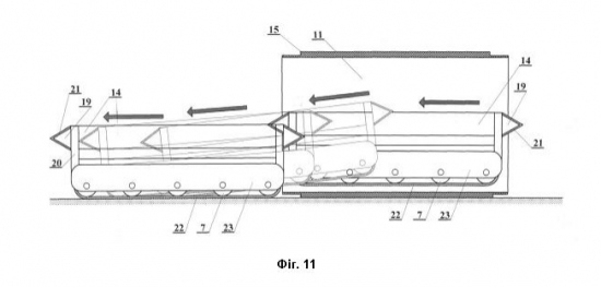
Так, коллектив разработчиков из Одесского национального политехнического университета и Военной академии запатентовал боевых роботов, которых они наделили способностью осуществлять роевое противодействие роботам противника — то есть, действовать подобно рою разъяренных пчел.

Изобретатель из ОНУ имени Мечникова Константин Семенов запатентовал способ управления отдельными наночастицами, а также образец космического двигателя, который способен развивать тягу в межгалактическом пространстве без выброса вещества — отталкиваясь от фотонов реликтового излучения.


SCIENCE SLAM

В ноябре в клубе «Шкаф» прошел первый в Украине Science Slam — состязание молодых ученых, которые презентовали свои разработки и достижения широкой публике в формате «стенд-ап».

Есть старое правило: если человек не может в течение десяти минут объяснить понятным языком, чем он занимается, значит он сам этого не понимает. Поэтому правила соревнования очень просты: вложиться в десять минут и разъяснить суть своей научной работы простым и понятным языком.

В состязании приняли участие биолог Евгений Соколов, который ищет способы уменьшения антропогенной нагрузки на причерноморские лиманы, археолог Дмитрий Киосак, который изучает наших давних предков, экономист Анна Коцюрубенко, которая занимается экономикой домохозяйств, и химик Егор Тимухин, который разрабатывает покрытия для оптических приборов. Победителем необычного соревнования стала психолог Ксения Черных, которая помогает детям, победившим смертельные болезни. Ей аплодировали на 0,4 децибела громче, чем Анне Коцюрубенко, которая заняла второе место.

Организаторы обещают, что такие познавательно-развлекательные акции будут проводиться регулярно.


РОБОТЫ-ПАЦИЕНТЫ

На базе Одесского национального медицинского университета открылся сверхсовременный учебный центр практической подготовки врачей. Это новый высокотехнологичный обучающий класс, оснащенный самым новейшим симуляционным оборудованием.

Теперь будущие медики смогут тренироваться не только на кошках, но и на реалистичных манекенах. Так, кибернетическая «роженица» отвлекает врачей вопросами и криками, а работа с «раненым на поле боя» осложняется звуками взрывов и автоматных очередей.

Создание центра, не имеющего аналогов на постсоветском пространстве, обошлось в два с лишним миллиона долларов.


IN MEMORIAM

К сожалению, и для одесской науки прошлый год не обошелся без трагедий. 24 июля скончался ректор Открытого Христианского университета Ростислав Крыжановский. Ученый-экономист и океанолог погиб в Затоке, спасая тонущую 13-летнюю девочку.

«Думская» желает в предстоящем году одесским ученым новых творческих находок, успехов и достижений — без потрясений и трагедий.


СМЕРТЬ РОСІЙСЬКИМ ОКУПАНТАМ!


Помітили помилку? Виділяйте слова з помилкою та натискайте control-enter


Новини по цій темі:





Exbombist
Exbombist   страна по ip - od 31 грудня 2014, 12:13     +1      
Роботы, воюющие друг против друга  это прекрасно!
Только, боюсь, противник своих роботов против наших не выпустит. А выпустит моторных парубков, которые будут наших роботов тупо собирать и сдавать на цветной и чёрный метал. Тем более, что роботы ховаться не будут, а будут сбиваться до кучи (называйте это роем или как хотите), насколько я понял.
Или комплектовать каждого робота хорошо вооружённой охраной.
   Відповісти    
   Правила




13 травня
21:35 Мереживна білизна та штани, що спадають: актори Одеського ТЮГу показали виставу для дорослих фотографии
2
19:59 «Раз — і все»: доктор наук про тріщину в одеській Аркадії, яка може розширитися (відео) видео
15
18:11 Легенда про заначку доньки та родича-капітана не спрацювала: у ексвійськкома з Одеської області конфіскували автомобілі фотографии
2
16:10 Цифрова втома очей: чому офісним працівникам потрібна професійна діагностика зору (на правах реклами)
1
14:52 Вирва посеред двору та сотні вибитих вікон: після атаки дронів на Одесу госпіталізували двох чоловіків фотографии
2
13:25 Масована атака по країні: в Одесі є постраждалі, в одному з дворів спалахнула пожежа (оновлюється) фотографии видео
1
12:55 Вранці хабар — ввечері тушонка: одеський майор тиловик вимагав «абонплату» у постачальника сухих пайків для фронту
3
10:35 Дитяче крісло, веганська шкіра та підстаканники: Одеська облрада купує три нові Toyota
45
08:32 Атака на Одеську область: ворог завдав масового удару по промисловій інфраструктурі
5
12 травня
21:48 «БЕДБОЙЗ» — банкрут: в курортній Затоці на Одещині продають базу відпочинку з дискоклубом і баром (фото) фотографии
8
19:10 Одоробло розбрату: в одеському парку мешканці конфліктують із сусідом-бізнесменом через сумнівні атракціони фотографии
6
17:00 «Там ціла кімната»: в Одесі дівчинка провалилася під землю просто на тротуарі (оновлено) фотографии
44
14:31 «Право бути собою»: в Одесі пройде тиждень прайду з ходою, фемфорумом і квір-кіно
13
12:29 В Одесі призначили нового відповідального за укриття: підтасовуванням даних щодо сховищ займеться поліція
5
10:35 Одещина — третя в Україні з усиновлення дітей: водночас кількість вилучень зростає
3




Статті:

Линии шезлонгов, бассейны и попытки расширить территорию: как одесские пляжи от Ланжерона до Аркадии готовятся к сезону (фото)

Разбор полетов: как единодушие доверяйцев, «слуги»-отступники и амбиции «мечтателей» ломали сессию

Barracuda украинского юга: как морпехи сами собирают дрон, ставший самым опасным водным хищником (фото, видео)





08:05
Хотя враг атаковал Одессу несколькими волнами беспилотников, обошлось без прилётов и пострадавших.



05:47
ВІДБІЙ повітряної тривоги
882215221


05:42
Не фиксируется
321611


05:40
Последний в сторону Фонтанки
311111


05:39
Не фиксируется. Возможно низко
1111


05:38
Ипподром
2220


05:34
Аркадия
652411


05:27
Осталось два Одесса/Лиманка
61161


05:14
Черноморск/Александровка/Лиманка
96312









Думська в Viber


«Раз - и все»: доктор наук — о трещине в одесской Аркадии, которая может разрастись (видео)
Видео: «Раз - и все»: доктор наук — о трещине в одесской Аркадии, которая может разрастись (видео)
Легенда о заначке дочки и родственнике-капитане не прошла: у экс-военкома из Одесской области конфисковали машины
Легенда о заначке дочки и родственнике-капитане не прошла: у экс-военкома из Одесской области конфисковали машины
Ми використовуємо cookies    Ok    ×